声明:本站只是转载文章,不构成医疗建议,具体请咨询医师。
作为第三代EGFR-TKI(表皮生长因子受体酪氨酸激酶抑制剂)靶向药物,奥希替尼(甲磺酸奥希替尼片)已成为EGFR突变型非小细胞肺癌(NSCLC)患者的一线治疗选择。然而,其疗效背后隐藏的副作用风险不容忽视。本文结合权威临床数据与真实案例,系统梳理奥希替尼的常见副作用及应对策略,为患者提供科学指导。
一、皮肤系统:从干燥到炎症的“靶向攻击”
(一)典型症状与机制
奥希替尼通过抑制EGFR信号通路发挥抗肿瘤作用,但正常皮肤细胞同样依赖该通路维持功能。约50%的患者会出现皮肤干燥、瘙痒、皮疹,部分患者发展为甲沟炎或大疱性皮肤病。
案例:一位52岁女性患者服用奥希替尼3周后,双手出现脱屑性红斑,伴指甲周围红肿疼痛。经皮肤活检确诊为药物性甲沟炎,调整用药剂量并外用抗生素后症状缓解。
(二)分级处理策略
CTCAE 1-2级:每日两次使用保湿霜(含尿素或神经酰胺成分),避免热水烫洗;皮疹处涂抹氢化可的松乳膏。
CTCAE 3级及以上:暂停用药,口服泼尼松(0.5mg/kg/d)治疗,待症状降至2级以下后重新启动治疗。
甲沟炎预防:修剪指甲时保留1-2mm长度,避免损伤甲床;每日用碘伏消毒指甲周围。
二、消化系统:从腹泻到肝损伤的“连锁反应”
(一)胃肠道紊乱的双重表现
奥希替尼可引发腹泻(发生率40%)和便秘(发生率15%)。其机制与肠道EGFR信号抑制导致的氯离子分泌异常有关。
处理方案:腹泻:CTCAE 1级(每日<4次)时,补充口服补液盐;2级(每日4-6次)使用洛哌丁胺(首剂4mg,后续每4小时2mg);3级及以上需住院静脉补液,并考虑暂停用药。
便秘:增加膳食纤维摄入(每日25-30g),使用聚乙二醇4000散剂(10g/次,每日1-2次)。
(二)隐匿性肝损伤风险
临床研究显示,3%-5%的患者会出现ALT/AST升高。某项III期临床试验中,1例患者因肝功能衰竭死亡。
监测建议:用药前检测肝功能基线值每2周监测肝酶,持续3个月后改为每月1次ALT>3倍ULN时暂停用药,使用联苯双酯(15mg,每日3次)保肝治疗
三、呼吸系统:间质性肺病的“致命陷阱”
(一)发病机制与临床表现
奥希替尼可能通过抑制气管上皮细胞修复,诱发间质性肺病(ILD)。某研究显示,ILD发生率为1.2%,其中0.3%为致命性病例。
高危信号:
●新发呼吸困难伴干咳
●胸部CT显示磨玻璃样改变
●血氧饱和度下降(<92%)
(二)紧急处理流程
●立即停用奥希替尼
●胸部高分辨率CT确诊
●甲泼尼龙(1mg/kg/d)静脉冲击治疗氧疗
●维持血氧饱和度>95%
●症状缓解后逐步减量至泼尼松(0.5mg/kg/d)维持
案例警示:某62岁男性患者用药2个月后出现渐进性呼吸困难,未及时停药导致呼吸衰竭死亡。
四、心血管系统:QT间期延长的“隐形杀手”
(一)心电图异常的监测
奥希替尼可延长QT间期,增加尖端扭转型室速风险。某研究显示,用药后QTc间期平均增加15ms,3%的患者QTc>500ms。
监测方案:用药前、用药后1个月、每3个月复查心电图
避免与胺碘酮、索他洛尔等QT间期延长药物联用
纠正电解质紊乱(血钾>4.5mmol/L,血镁>0.75mmol/L)
(二)心律失常处理原则
●QTc>500ms:暂停用药,使用美托洛尔(25mg,每日2次)控制心率
●发生尖端扭转型室速:立即静脉注射硫酸镁(2g,10分钟内)
●反复发作者需永久停药
五、眼部并发症:从干眼症到角膜炎的“视觉威胁”
(一)常见眼部症状约20%的患者出现干眼症、视力模糊,1%-2%发展为角膜炎。某案例报道中,患者因未及时处理角膜炎导致角膜溃疡穿孔。
处理建议:
●人工泪液(每日4-6次)缓解干眼症
●角膜炎确诊后使用左氧氟沙星滴眼液(每日4次)联合氟米龙滴眼液(每日2次)
● 避免佩戴隐形眼镜,症状持续超过2周需眼科会诊
六、特殊人群用药警示
(一)妊娠期与哺乳期奥希替尼具有胚胎毒性,动物实验显示可导致胎儿死亡。用药期间需严格避孕,哺乳期妇女应停止哺乳。
(二)合并症患者
●COPD患者:发生ILD的风险增加2.3倍,需加强肺功能监测
●糖尿病患者:血糖控制不佳可能加重皮肤感染风险
●老年患者:肾功能减退者需调整剂量(CrCl<30ml/min时减量25%)
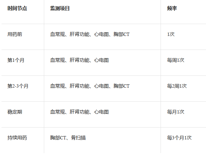
七、长期管理:副作用监测的“时间轴”
结语:在疗效与安全性间寻找平衡
奥希替尼的副作用管理本质是“风险-收益”的动态评估。患者需建立“症状日记”,记录皮疹面积、腹泻次数、呼吸困难程度等指标,定期与主治医生沟通。随着对药物机制的深入理解,未来通过基因检测预测副作用风险、开发针对性预防药物,将成为提升治疗安全性的关键方向。在抗癌征程中,科学应对副作用与坚持规范治疗同等重要。